中成泵业排污液下泵、抽泥液下泵、吸泥液下泵品牌厂家为您提供排污液下泵、抽泥液下泵、吸泥液下泵型号,选型,视频等技术服务:021-66519999。
NL型排污液下泵主要部件有蜗壳、叶轮、泵座、泵壳、支撑筒、电机座、电动机等组成。蜗壳、泵座、电机座、叶轮螺母是生铁铸造、耐腐性、耐腐蚀性较好,加工工艺方便。 叶轮为三片单园弦弯叶,选用半封闭叶轮,并采用可锻铸铁、所以强度高,耐腐蚀;加工方便,通过性好,效率高。 为了减轻重量和减少车削量、泵轴是优质碳素钢冷拉园钢制造。 NL型抽泥液下泵可垂直或倾斜使用,占地面积小,蜗壳需埋在工作介质中工作,容易启动,不需引水,旋转方向应从电机尾部看是顺时针方向工作。 总机长度备有各种规格,以便使用单位根据用途因地制宜地选用。
| 型?号 | 转速?n?r/min | 流量?Q?m3/h | 扬程?H?m | 效率?n?% | 电机功率?KW |
| NL50-8 | 1450 | 20 | 8 | 42 | 1.5 |
| NL50-12 | 1450 | 25 | 12 | 42 | 3 |
| NL50-16 | 1450 | 20 | 16 | 42 | 3 |
| NL50-20 | 1450 | 20 | 20 | 42 | 4 |
| NL50-24 | 1450 | 35 | 24 | 42 | 5.5 |
| NL65-16 | 1450 | 50 | 16 | 42 | 5.5 |
| NL65-25 | 1450 | 50 | 25 | 42 | 11 |
| NL76-9 | 1450 | 50 | 9 | 42 | 3 |
| NL76-16 | 1450 | 50 | 16 | 42 | 5.5 |
| NL76-20 | 1450 | 50 | 20 | 42 | 7.5 |
| NL80-8 | 1450 | 60 | 8 | 56 | 4 |
| NL80-12 | 1450 | 80 | 12 | 56 | 7.5 |
| NL80-25 | 1450 | 80 | 25 | 56 | 11 |
| NL100-7 | 1450 | 70 | 7 | 61 | 4 |
| NL100-10 | 1450 | 100 | 10 | 61 | 7.5 |
| NL100-16 | 1450 | 100 | 16 | 61 | 15 |
| NL100-25 | 1450 | 100 | 25 | 61 | 18.5 |
| NL150-12 | 1450 | 150 | 12 | 66 | 18.5 |
| NL150-16 | 1450 | 180 | 16 | 68 | 22 |
| 序号 | 型式/另件名称 | NL,NLF,NW | ||
| 编号 | 数量 | 备注 | ||
| 1 | 网罩 | 1 | 1 | |
| 2 | 叶轮螺母 | 2 | 1 | |
| 3 | 叶轮 | 3 | 1 | |
| 4 | 泵壳 | 4 | 1 | |
| 5 | 泵座 | 5 | 1 | |
| 6 | 0型圈 | 6 | 1 | 改进型用机械密封 |
| 7 | 油封 | 7 | 4 | 改进型用机械密封 |
| 8 | 轴套 | 8 | 1 | 改进型用机械密封 |
| 9 | 出水弯头 | 9 | 1 | |
| 10 | 泵轴 | 10 | 1 | |
| 11 | 轴承 | 11 | 2 | |
| 12 | 从动联轴器 | 12 | 1 | |
| 13 | 主动联轴器 | 13 | 1 | |
| 14 | 联接筒 | 14 | 1 | |
| 15 | 轴承座 | 15 | 2 | |
| 16 | 联接轴 | 16 | 1 | |
| 17 | 支撑筒 | 17 | 2 | |
| 18 | 轴承盖 | 18 | 1 | |
| 19 | 从动联轴器 | 19 | 1 | |
| 20 | 电机座 | 20 | 1 | |
| 21 | 电机座C | 21 | 1 | 带固定板用 |
| 22 | 主动联轴器 | 22 | 1 | |
| 23 | 电动机 | 23 | 1 | |
| 24 | 弹性块 | 24 | 1 | |

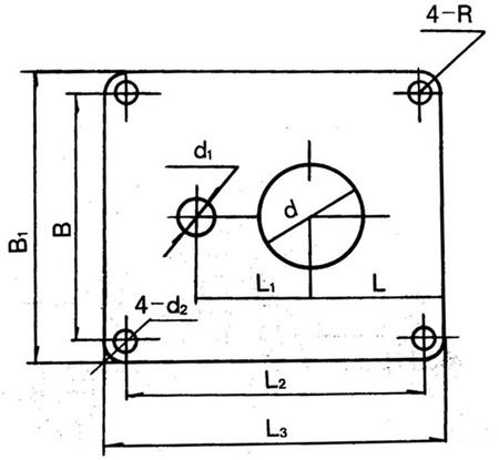
泵固定安装板尺寸
| 型号/代号 | L | L1 | L2 | L3 | B | B1 | d | d1 | 4-d2 | 4-R | δ |
| NL25-10 | 180 | 120 | 350 | 400 | 280 | 330 | 72 | 40 | 13 | 25 | 6 |
| NL50-8 | 255 | 230 | 590 | 650 | 490 | 550 | 215 | 70 | 18 | 30 | 8 |
| NL80-9 NL50-12 NL76-9 | 255 | 230 | 590 | 650 | 490 | 550 | 258 | 80 70 70 | 18 | 30 | 10 |
| NL65-16 NL80-12 NL50-24 | 255 | 285 | 690 | 750 | 590 | 650 | 175 | 70 110 70 | 18 | 30 | 12 |
| NL100-16 NL100A-16 | 380 | 350 | 920 | 1000 | 820 | 900 | 226 | 115 70 | 18 | 40 | 14 |
泵长度规格
| 型 号 | 泵 长 度 L (毫米) | ||||||||||
| NL150-12 NL150A-12 NL150-16 NL150A-16 | 650 | 1300 | / | / | / | / | / | / | / | / | |
| NL50-8 NL50A-8 NL50-12 NL50A-12 NL76-9 NL76A-9 | 470 | 1120 | 1620 | 2120 | 2620 | 3120 | 3620 | 4120 | 4620 | 5120 | 3620 |
| NL65-16 NL165A-16 NL80-12 NL80A-12 | 710 | 1190 | 1910 | 2410 | 3130 | 3630 | 4350 | 4850 | 5570 | 6070 | / |
| NL100-16 NL100A-16 | 710 | 1190 | 1940 | 2440 | 3190 | 3690 | 4440 | 4940 | 5690 | 6190 | / |
| 现象 | 产生原因 | 排除方法 |
| 不 启 动 与 运 转 |
|
|
| 超 负 荷 |
|
|
| 流 里 不 足 |
|
|
| 噪 声 与 震 动 |
|
|